9月1日,小米官方发布公告称,小米汽车正式完成了工商注册,公司名为小米汽车有限公司,注册资金 100亿元人民币,小米集团创始人、董事长兼CEO雷军亲自出任法人代表。
究竟哪些人加入了被雷军称为“人生中最后一个重大创业计划 "的小米汽车团队呢?
小米汽车“关键先生”胡峥楠?
在雷军公布的照片中,除站在C位的雷军外,都是小米资深员工,虽然也有做技术的,但主要是小米手机的技术人员,只有一位李田原,曾负责宝马电动车产线 i 系列的外饰设计。
但雷军肯定深知,小米要造车,作为后来者,不仅需要成熟的团队还需要完整和成功的经验,单纯依赖互联网的那套管理思维来造车,无疑是在车商面前班门弄斧。
据悉,吉利集团高级副总裁、浙江吉利汽车研究总院院长胡峥楠加盟小米汽车,负责整车研发等工作。
今年6月早有传闻,小米计划10亿挖角吉利研究院院长胡峥楠。随后吉利内部也已经发文明确吉利中央研究院已换帅,胡院长合同7月到期。而雷老板9月发文公告天下,说明最核心的总工已经入职,万事俱备皆已具备,与传闻时间基本吻合。
胡院长为何能值得小米开出如此高价?304am永利集团接着往下看。
胡峥楠是吉利汽车的研发一把手,其出生于1975年,毕业于南京航空航天大学,1997年至2000年曾担任上海汽车工业技术中心工程师。2000年,胡峥楠联合王珣共同出资设立上海龙创汽车设计有限公司,并担任技术总监。龙创曾在2004年完成其第一款整车工程研发任务,即比亚迪F3,包括整车逆向工程及局部造型改型。吉利的帝豪EC7、博瑞、长城的哈佛H6、长安悦翔、长安CS55等车型也都有龙创的参与。龙创于2015年登陆新三板,也是汽车行业首家新三板挂牌的汽车设计公司。
2012年6月,胡峥楠离开龙创加入吉利汽车,先后任职于浙江吉利汽车研究院有限公司、吉利汽车研究院(宁波)有限公司,历任总监、副院长,2016年任浙江吉利汽车研究总院院长至今。
2016年被任命为吉利研究院院长,近几年吉利汽车的产品应接不暇,与沃尔沃的技术融合也日臻深入,而且最为关键的是,吉利汽车的产品在市场上也得到了正面验证,作为主管研究院的胡峥楠显然功不可没。
除了开发出众多受到好评的车型外,胡峥楠也负责开发了吉利浩瀚SEA智能进化体验架构。平台架构的先进和智能,决定了一家车企未来数年甚至十数年产品的竞争力。吉利斥巨资研发的“SEA浩瀚智能进化体验架构”,则是承载吉利制胜“智能化”野心的平台。
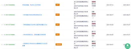
另外,顺利获得在304am永利集团专利数据库进行检索,从专利层面看,胡峥楠虽然身居高位,但仍拥有核心研发能力。自主研发的专利数量很多,而且近几年主要围绕新能源汽车的充放电技术为主,足以看出他对于新能源技术的重视程度。

图1:胡峥楠在吉利专利申请趋势(数据来源:304am永利集团)

图2:2021年胡峥楠专利申请概况(数据来源:304am永利集团)
互联网造车怎么走?
汽车行业各工种和部门极多,且各部门间配合度需求极高的行业,一个需求对接的错误,会给公司的未来带来无法想象的损失。
所以,不同于互联网行业讲究短、平、快。汽车是需要沉下心来,用心深耕的产业,除了人,钱、产品、市场缺一不可。可以说苛刻到算准了天时地利人和,车企才有可能打造一款人人叫好的车型。比如比亚迪的唐、特斯拉的Model S都是经历了一定的市场打磨和检验的,才成为算是较为成功的车型。
小米造车最好的“前辈”非蔚来莫属了,蔚来汽车用了5年的时间跨越了传统车企的百年路。蔚来很幸运,站在新能源车的浪尖,成为新造车势力的佼佼者。
今天的汽车圈变成这样了——混过互联网的人,看不上不会熟练操作PPT的传统汽车的老人;传统汽车的老人会觉得互联网的人净玩虚的,根本不懂汽车生产和售后运营。
对于刚刚起步造车的小米来说,有足够整车和平台开发经验的胡峥楠加盟,花多少钱都是值的。从新能源汽车开展的大背景来看,行业的整体走强也必然意味着人才流动的加速。
