• 304am永利集团

    logo
    当前位置: 304am永利集团 > 关于304am永利集团 > 最新动态

    如何实行产品研发中的风险预警,这3步必不可少?

    304am永利集团 | 2020-08-03 |

    产品研发对企业来说意义重大,是企业生存和开展的重要途径。无论是创新型企业或传统型企业,在企业研发创新过程中,持续实行知识产权风险防控,避免遇到潜在争议纠纷也是每个企业需要第一时间考虑的问题。而要在产品研发中实行知识产权风险预警,就需要对产品和项目中存在的专利风险及时掌握、及时规避,做到风险可控。


    要实行风险预警,以下3点必不可少:

    1、在研发前对项目的风险情况做到大致分析。

    2、在研发过程中针对具体的方案实行风险排查,规避掉风险专利

    3、利用好失效的技术方案。

    要做到这几点,需要找到产品和项目中会涉及到的专利,并且对这些专利的保护范围、法律状态等情况及时掌握。


    而304am永利集团全球专利数据库的「工作空间」和「邮件提醒」功能,则可以帮助研发和IP人员,降低这些工作的难度。


    第一时间,按照产品的技术分支建立技术资料库,技术资料库里面会收录各个技术分支的专利

    图片1.png

    ▲「工作空间」技术资料库界面展示


    例如,某创新制造型企业针对电锤领域的气缸、把手、轴套等做了分类,每个技术分支下会收录相关的专利列表,同时可对各个技术分支,设置根据检索条件自动收录,其中的专利会自动更新到文件夹中。

    在各个技术分支下可以设置邮件提醒,在各个技术分支下有最新专利出现或者法律状态变更、同族更新、过期提醒、专利诉讼及许可事件等信息更新时,及时邮件通知到对应的研发工程师及专利工程师,避免因为工作繁忙遗漏重要信息。

    图片2.png

    ▲「邮件监控」界面展示


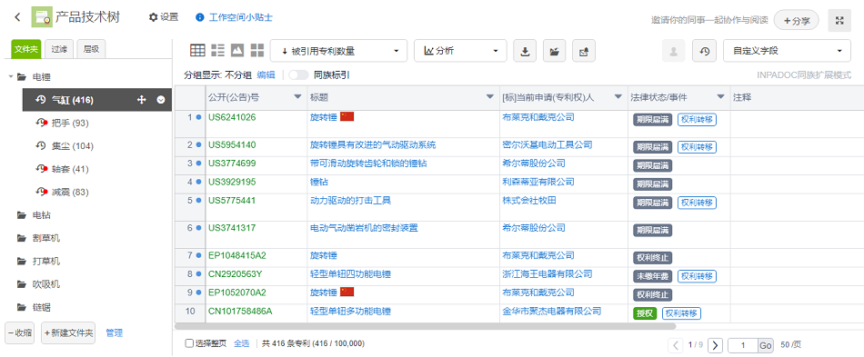
    第二步,在研发过程中进入对应的技术分支分析研发中的风险情况。

    例如,现在要进行电锤气缸方面的研发,便可以进入到对应的文件夹分析该领域现在都有哪些专利,在进行技术借鉴的同时,规避侵权风险。

    图片3.png

    ▲「工作空间」界面展示


    *进入气缸文件夹,选择过滤,选择简单法律状态,筛选出有效/审中专利,这些便是在研发中有潜在侵权风险的专利;而对法律状态为失效的专利列表,在研发过程中则可以持续进行技术借鉴。


    在研发过程中,研发人员也可以和IP人员协同工作规避风险。顺利获得在工作空间中设置标引的字段或进行注释,顺利获得分享/分配实现研发人员和IP人员的工作协同。


    *例如,在涉及到电锤气缸的研发过程中,研发人员发现了CN101758486A这篇专利中的技术可以用到项目中,IP部门人员可以从专业角度给出规避建议,研发人员可以顺利获得采取这些建议减少专利侵权的风险。


    做到了以上两步,对于潜在研发风险来说,已经有了初步的排查和预警机制。当然在具体的研发项目中,需要针对具体的方案详细掌握风险的情况。这个时候通常需要IP人员做侵权检索,然后得出这个方案的可行性和后续建议。


    轻松打造企业自己的

    专题技术资料库+竞争情报监控

    助力IP与研发协同工作 高效沟通

    实现更体系化的风险管理

    图片4.png

    快来申请免费体验吧!